Nissan Altima (L32) 2007-2012 Service Manual ≻ Engine cooling system VQ35DE ≻ Function diagnosis ≻ Cooling system
Nissan Altima (L32) 2007-2012 Service Manual: Cooling system
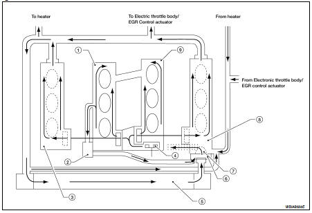
Cooling Circuit

1. Cylinder block (RH)
2. Oil cooler
3. Cylinder head (RH)
4. Water pump
5. Radiator
6. Water inlet
7. Thermostat
8. Cylinder head (LH)
9. Cylinder block (LH)
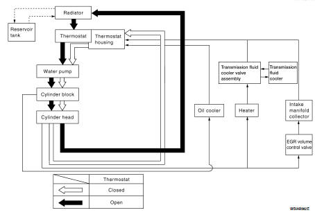
Schematic


Function diagnosis
Overheating cause analysis